Thursday April 2026

হটলাইন

সেবা এবং ধাপ

নং শিরোনাম সেবার ধাপ কার্যকলাপ
  
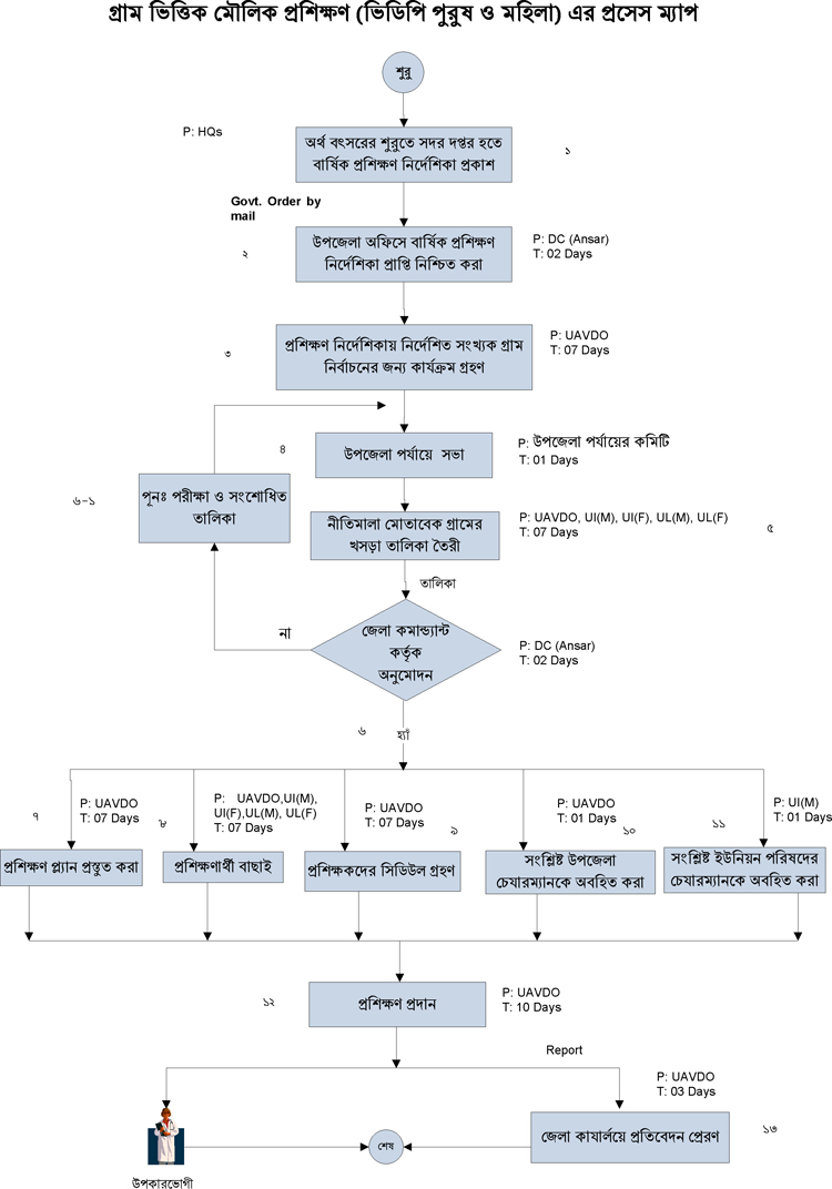
গ্রাম ভিত্তিক মৌলিক প্রশিক্ষণ সেবার প্রসেস ম্যাপ দেখুন
জরুরী প্রয়োজনে নির্বাহী আদেশে আনসার অংগীভুত করণ দেখুন
অঙ্গীভূত আনসারের নিরাপত্তা মোতায়েন সেবার প্রসেস ম্যাপ দেখুন
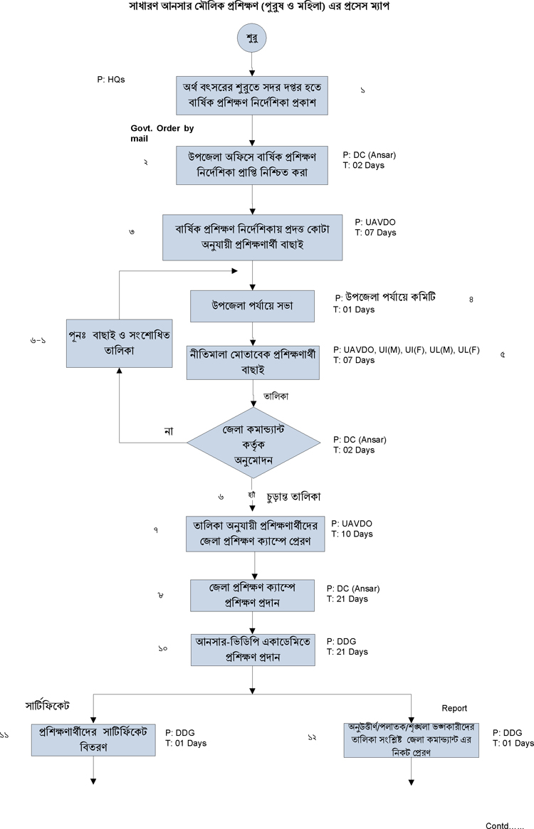
মৌলিক প্রশিক্ষণ এর প্রসেস ম্যাপ দেখুন
আনসার ও ভিডিপি উন্নয়ন এ ক্ষুদ্র ঋণ সেবার প্রসেস ম্যাপ দেখুন
প্রশিক্ষণ ভিত্তিক প্রসেস ম্যাপ দেখুন
সরকারি বেসরকারি সংস্থায় অঙ্গীভূত প্রসেস ম্যাপ দেখুন
দেখছেন ১ থেকে ৭ পর্যন্ত, মোট ৭ এন্ট্রি

এক্সেসিবিলিটি

স্ক্রিন রিডার ডাউনলোড করুন